-
有汇源才叫过年呢!这句广告语相信是不少80,90后的童年回忆,甚至现在应该也有不少人钟爱汇源果汁。不过,汇源近些年在发展上却是接连受挫。 2018年4月3日,汇源果汁发布停牌公告称停牌
瑞祺咨询 2019-07-01
-
几天前,伊利集团官方发表了一篇 声明, 公开指责蒙牛。 原来, 2017 年的时候,伊利集团与北京冬奥组委签署赞助协议,成为北京 2022 年冬奥会和冬残奥会官方 唯一 乳制品 合作伙伴。 而现
瑞祺咨询 2019-07-01
-
被控侵权标识 因认为海贼王图文商标被擅用在街机海贼王手机游戏中,北京随手互动信息技术有限公司将北京乐汇天下科技有限公司、东莞市讯怡电子科技有限公司诉至法院,要求二被告刊登
瑞祺咨询 2019-06-28
-
虽然Supreme暂时没有在中国开店的打算,但也不能允许山寨的存在。近日,真假Supreme的在华商标争夺战有了下文。有消息显示,中国商标局已经撤销了意大利品牌Supreme Italia在华注册的商标。
瑞祺咨询 2019-06-28
-
近日,北京知识产权法院受理一起湘西黄金茶地理标志商标权无效宣告案。
瑞祺咨询 2019-06-28
-
诉争商标 近日,北京知识产权法院受理了一起三國美IJK及图商标无效宣告请求行政纠纷案。 引证商标 该案原告国美电器公司以本案第三人孙某的三國美IJK及图商标(简称诉争商标)与其国美
瑞祺咨询 2019-06-28
-
618,一个各大电商使出浑身解数让你痛并快乐着的日子。今年的618嘉年华,比往年早了两天,八方热闹汇聚,如此盛会,商标怎能不来掺和掺和。 618商标大赏 围绕618的商标注册可谓是花样繁多
瑞祺咨询 2019-06-27
-
市场竞争激烈,信息流通迅速,商标专用权依申请取得,商誉并非产生于商标但商标承载着商誉。 A公司有一个名字比较新奇的商标 xxx 准备使用或刚使用但未注册, B 公司在此期间注册 xxx 商
瑞祺咨询 2019-06-27
-
商标作为企业打开市场的敲门砖,具有着经济性、灵活性和宣传面的广泛性,它无形中影响着消费者在选购产品时做出选择,认牌购买是它价值的直观体现。 一件小小的商标,有的时候所展现
瑞祺咨询 2019-06-27
-
迄今为止,随着人们知识产权意识的日益增强,企业间的竞争也同时进入了白热化,商标、品牌早已成为企业间众目睽睽之物。早在2003年,国家商标局就取消了指定代理机构的说法,只要是经
瑞祺咨询 2019-06-27
-
在快递行业,竞争是非常激烈的,大大小小的快递品牌倒闭的不少,最终形成了四通一达、邮政、顺丰、京东物流的快递局面。在这些公司中有的盈利,有的亏损,去年的顺丰总营收达到909.
瑞祺咨询 2019-06-26
-
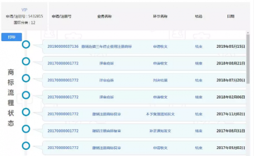
新日股份(603787)作为中国电动自行车第一股,于2017年4月27日在上交所挂牌上市,上市已有两年有余。 不过在2019年5月15日再次被撤三! 有报道称,新日股份VIP商标在公司申请上市的招股说明书
瑞祺咨询 2019-06-26
-
随着全国高考、中考陆续落下帷幕,广大考生也得以暂别浩瀚的书山题海,什么《5年高考3年模拟》之类,可以say byebye了。 而近日一则新闻引起笔者注意,5年高考3年模拟、5年中考3年模拟商标
瑞祺咨询 2019-06-26
-
发现张师傅参鸡汤餐厅将菜品命名为分米鸡,栾先生、沈阳融汇餐饮服务集团有限公司遂起诉该餐厅经营方,要求停止侵权行为并赔偿经济损失及合理开支5万元。 记者获悉,北京海淀法院判决
瑞祺咨询 2019-06-26
-
第十一届中国国际商标品牌节重磅活动中华品牌商标博览会将于7月6日-8日在银川国际会展中心举行。本届博览会设立商品品牌商标展区、服务品牌商标展区和地理标志展区,对中国知名品牌商标
瑞祺咨询 2019-06-25