距离茅台放弃“国酒”商标不到3个月的时间,茅台又一“国”字商标折戟了!
茅台集团于2002年10月申请第33类“茅台国宴”商标,2003年被驳回,围绕这件商标,商评委做了2次驳回复审、5次不予注册复审。

2016年,茅台集团将商评委告到北京知识产权法院。近日,法院宣判,驳回茅台集团对商评委的起诉。

这也就意味着茅台申请“茅台国宴”的计划落空。
茅台酒曾多次作为国宴用酒,为了申请商标,茅台集团提供大量作为国宴酒的材料证据。
但是法院认为,“茅台国宴”作为商标注册使用在酒类商品上,容易让人误导茅台就是国宴专用酒,对其他酒类同行不公平。因此,法院驳回了茅台集团的诉讼。

“国”自开头的商标,向来不好申请。此前茅台已经在 “国酒茅台”上吃过亏,9次提交商标均被驳回,好不容易过了初审,又收到95份异议,涉及五粮液等多家酒企及个人。
2016年,在申请“茅台国宴”的同时,茅台集团还提交了“茅台国礼”、“茅台国韵”两份商标申请,均被驳回。

▲茅台国礼
不止有茅台一家申请“国”字头商标失败,山西汾酒申请“国酒汾酒”、“国宴汾酒”商标,也都被驳回了。同样遭遇的还有五粮液旗下“国酒五粮液”、 衢州国酒壹号旗下的“国酒一号”等。
“国”字开头的商标很容易被误以为有国家在背书,扰乱公平的市场秩序,一般很难申请成功。
尽管如此,还是有很多企业和个体申请这类商标。
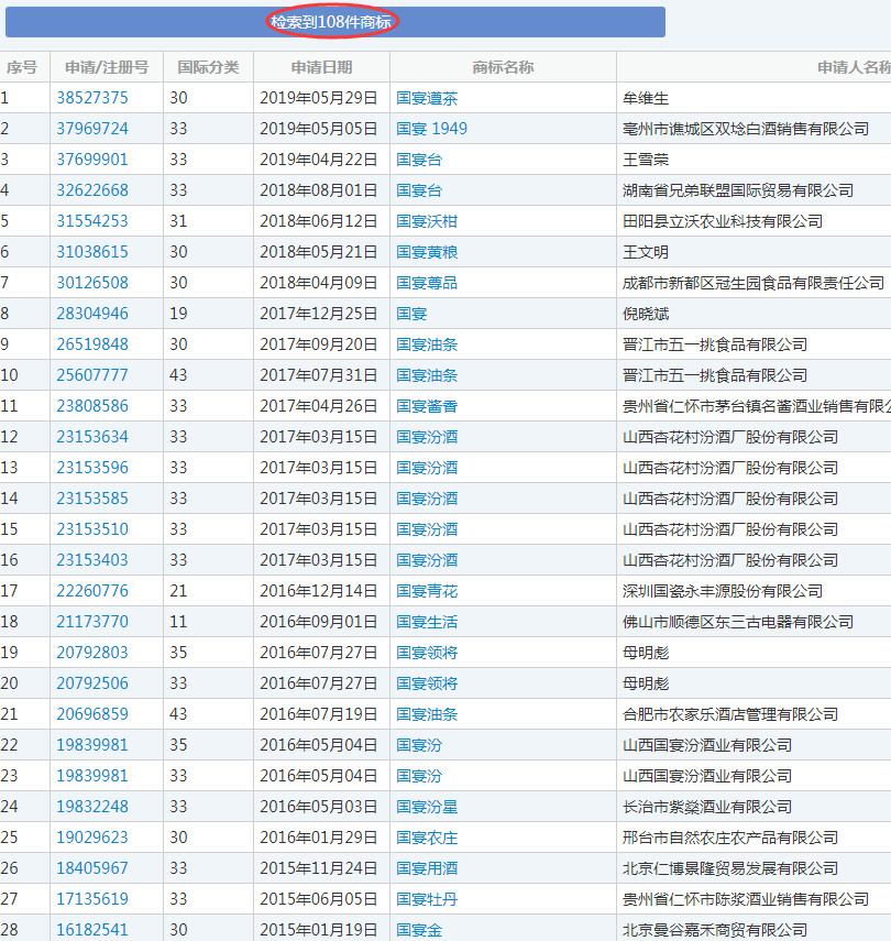
据了解,在中国商标网上,带有“国宴”的申请注册商标有108个,绝大部分为酒类产品。


“国”字商标对茅台集团,甚至整个白酒行业意义重大,如今这类商标申请越来越难,恐怕要寻找备选方案。
